التخصيص الغطاء البلاستيكي من النوع الجاف من العجلة متعددة الطائرات الطائر مع تجهيزات الذكور موردون، مصنع OEM/ODM - Ningbo Jingcheng Technology Co, ltd.

الغطاء البلاستيكي من النوع الجاف من العجلة متعددة الطائرات الطائر مع تجهيزات الذكور

بيت / منتج / مقياس المياه الميكانيكي / الغطاء البلاستيكي من النوع الجاف من العجلة متعددة الطائرات الطائر مع تجهيزات الذكور

KM05-03

الغطاء البلاستيكي من النوع الجاف من العجلة متعددة الطائرات الطائر مع تجهيزات الذكور

عداد المياه السكنية مع صمام غير عائد ، سجل مختوم ، متاح ل IP68. غير متأثر بالحصى والجسيمات .

اتصل بناالغطاء البلاستيكي من النوع الجاف من العجلة متعددة الطائرات الطائر مع تجهيزات الذكور
الغطاء البلاستيكي من النوع الجاف من العجلة متعددة الطائرات الطائر مع تجهيزات الذكور

وصف

1. التطبيق

قياس وحفظ وعرض استهلاك المياه يمر عبر خط الأنابيب.

2. الميزات

● اعتماد نوع متعددة القطرات.

● سجل النوع الجاف ، محرك مغناطيسي ، تداخل مضاد المغناطيسي ، مضاد للتجميد ، قراءة واضحة على المدى الطويل ، إثبات العبث.

● المادة: النحاس ، الحديد ، الجسم البلاستيكي للخيار.

● صمام غير العائد متاح.

● لا تتأثر بالحصى والجسيمات.

● تزويد ختم الرصاص وغطاء الغبار.

● تأكيد لـ ISO4064.

● متاح لـ IP68.


3. منحنى فقدان الرأس



4. منحنى خطأ الدقة


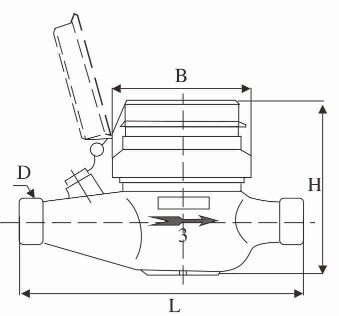
5. البعد التثبيت

البند لا

لXSG-15

LXSG-20

LXSG-25

LXSG-32

LXSG-40

L1

مم

165

190

225

230

245

L

مم

260

295

345

350

375

ح

مم

110

110

115

115

115

ث

مم

98

98

110

110

110

موضوع الاتصال

د (مم)

G3/4 "

G1 "

G1 1/4 "

G1 1/2 "

G2 "

د (مم)

R1/2

R3/4

R1

R1 1/4

R1 1/2

وزن

مع النقابات (كغ)

بدون نقابات (كجم)

1.2

1.4

1.8

2.2

2.6


6. البيانات الفنية الرئيسية

رقم النموذج

LXSG-15

LXSG-20

LXSG-25

LXSG-32

LXSG-40

القطر الاسمي (DN) [مم]

15

20

25

32

40

نسبة Q3/Q1

R80

R100

R160

R80

R100

R160

R80

R100

R160

R80

R100

R160

R80

R100

R160

معدل تدفق الحمل الزائد (Q4) [M³/H]

3.125

3.125

3.125

5

5

5

7.875

7.875

7.875

12.5

12.5

12.5

20

20

20

معدل التدفق الدائم (Q3) [M³/H]

2.5

2.5

2.5

4

4

4

6.3

6.3

6.3

16

16

16

25

25

25

معدل التدفق الانتقالي (Q2) [M³/H]

0.05

0.04

0.025

0.08

0.064

0.04

0.126

0.1008

0.063

0.2

0.16

0.1

0.32

0.256

0.16

الحد الأدنى لمعدل التدفق (Q1) [M³/H]

0.03125

0.025

0.015625

0.05

0.04

0.025

0.07875

0.063

0.039375

0.125

0.1

0.0625

0.2

0.16

0.1

فئة الدقة

2

الحد الأقصى المسموح به للمنطقة انخفاض معدل التدفق (MPEι)

± 5 ٪

الحد الأقصى المسموح به لمنطقة معدل التدفق العلوي (MPEμ)

± 2 ٪ للماء وجود درجة حرارة ≤30 ℃
± 3 ٪ للماء الذي يحتوي على درجة حرارة > 30 ℃

درجة الحرارة

T30 ، T50

فصول ضغط الماء

الخريطة 16

فئات فقدان الضغط

p63

تشير إلى النطاق [M³]

99 999

حل الجهاز المشير [M³]

0.00005

فئات حساسية ملف تعريف التدفق

U10 D5

الحد من التوجه

أفقي

تواصل معنا

Send Message
مقياس المياه الميكانيكي

من نحن؟

Ningbo Jingcheng Technology Co.,Ltd.

Ningbo Jingcheng Technology Co.,Ltd. تقع شركة "جيانجبي" المحدودة في منطقة جيانغبي الاستثمارية الخلابة، نينغبو، الصين. وهي شركة متكاملة عالية التقنية تجمع بين البحث والتطوير العلمي والإنتاج والمبيعات والخدمة. تأسست عام 2002 كشركة مصنعة ومصدرة لعدادات المياه لأكثر من 22 عامًا. يغطي المصنع مساحة 40 فدانًا (30,000 متر مربع)، ويعمل به 200 موظف، ويقدم أكثر من 100 نوع من المنتجات، بطاقة إنتاجية سنوية تبلغ 5 ملايين وحدة. تشمل منتجاتها عدادات المياه أحادية النفث، ومتعددة النفثات، ومكبس الحجم، وعدادات المياه الذكية ببطاقة IC، وعدادات المياه التي يتم التحكم فيها عن بُعد، وعدادات المياه التي يتم التحكم فيها عن بُعد مباشرةً بقراءة كهروضوئية، وعدادات المياه النقية، وعدادات المياه بالموجات فوق الصوتية، والتي تتوافق مع المعايير الدولية ISO4064B وC وD. لدينا تعاون مع العديد من الشركات المحلية والدولية. أسواقنا الخارجية الرئيسية هي آسيا وأفريقيا وأوروبا وأمريكا الجنوبية، وغيرها.
"استمر باستمرار في التحسن والإصرار على الإخلاص وحسن النية" هو هدفنا. لقد مررنا بـ ISO9001: 2015 نظام إدارة الكمية و ISO14001: 2015 شهادات نظام البيئة ، ISO 45001: 2018 نظام إدارة السلامة الصحية المهنية ، وإجراءات مراقبة الجودة الصارمة والعلمية ، وضمان اهتمام العديد من المستخدمين.
في ظل خلفية تطوير صناعة Ningbo Meter ، تقوم Jingcheng Meter ببحث وتطوير منتجات جديدة تلبي متطلبات الطلب في السوق وحماية البيئة ، وتلقى تعليقات مواتية من العملاء الجدد والقدامى. باتباع فكرة تشغيل "التكنولوجيا والجودة الجيدة ، الخالص" ، نحن على استعداد لتزويدك بمنتجات وخدمات عالية الجودة لآفاق مشرقة معك جنبًا إلى جنب.

يكرم ومؤهلات

شهدت كل شهادة تخصصنا.

استكشف المزيد
Ningbo Jingcheng Technology Co.,Ltd.

أخبارنا

اتبع معلومات الشركة وفهم اتجاهات الصناعة.

استكشف المزيد
Ningbo Jingcheng Technology Co.,Ltd.